
防護型不銹鋼玻璃轉子流量計技術指標
1、公稱口徑:DN15 DN25 DN40 DN50 DN80 DN100
2、公稱壓力:0.4MPa 0.6MPa
3、精度等級:2.5級 4級
4、工作溫度:≤60℃
5、類型:隸屬于變面積式流量計
6、適用介質:氣體或者液體
防護型不銹鋼玻璃轉子流量計技術參數
|
型號
|
LZB-15BH
|
LZB-25BH
|
LZB-40BH
|
LZB-50BH
|
LZB-80BH
|
LZB-100BH
|
|
|
公稱通徑(mm)
|
DN15
|
DN25
|
DN40
|
DN50
|
DN80
|
DN100
|
|
|
測量范圍
|
液體
L/h |
★6~60
|
40~400
|
160~1600
|
★160~1600
|
1~10m³/h
|
5~25m³/h
|
|
★8~80
|
60~600
|
★180~1800
|
400~4000
|
1.6~16m³/h
|
★6~35 m³/h
|
||
|
16~160
|
100~1000
|
250~2500
|
600~6000
|
★2~20m³/h
|
8~40 m³/h
|
||
|
25~250
|
★160~1600
|
★300~3000
|
★800~8000
|
★3~25m³/h
|
★12~60 m³/h
|
||
|
40~400
|
|
★400~4000
|
★1~10m³/h
|
★8~40m³/h
|
★16~80 m³/h
|
||
|
|
|
★1~5m³/h
|
★4~16m³/h
|
|
★20~90 m³/h
|
||
|
|
|
★1.5~6m³/h
|
|
|
★20~100 m³/h
|
||
|
|
|
|
|
|
★50~120m³/h
|
||
|
氣體
Nm³/h |
0.25~2.5
|
★0.8~8
|
4~40
|
★6~60
|
50~250
|
★60~200
|
|
|
0.4~4
|
1~10
|
★5~50
|
10~100
|
80~400
|
★80~400
|
||
|
0.6~6
|
1.6~16
|
6~60
|
16~160
|
★50~500
|
★ 100~500
|
||
|
★0.8~8
|
2.5~25
|
★7~70
|
★20~200
|
★60~600
|
120~600
|
||
|
★1~10
|
★3~30
|
★8~80
|
★30~300
|
|
200~1000
|
||
|
|
★4~40
|
★10~100
|
★50~250
|
|
★300~1500
|
||
|
|
|
|
★80~400
|
|
★400~2000
|
||
|
|
|
|
|
|
★500~2500
|
||
|
精度等級(±%)
|
4
|
2.5
|
2.5
|
2.5
|
2.5
|
2.5
|
|
|
工作壓力
(MPa) |
0.6
|
0.6
|
0.6
|
0.6
|
0.4
|
0.4
|
|

|
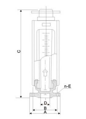
|
尺寸 |
||||
|
A |
B |
C |
D |
n-E |
|
|
LZB-15BH |
Φ95 |
Φ65 |
470±2.5 |
Φ15 |
4*Φ14 |
|
LZB-25BH |
Φ115 |
Φ85 |
470±2.5 |
Φ25 |
4*Φ14 |
|
LZB-40BH |
Φ145 |
Φ110 |
570±3 |
Φ40 |
4*Φ18 |
|
LZB-50BH |
Φ160 |
Φ125 |
570±3 |
Φ50 |
4*Φ18 |
|
LZB-80BH |
Φ185 |
Φ150 |
660±3.5 |
Φ80 |
4*Φ18 |
|
LZB-100BH |
Φ205 |
Φ170 |
660±3.5 |
Φ100 |
4*Φ18 |